
1. 概述
HXGN15A-12(F.R) 箱型固定式交流金属封闭环网开关设备(简称环网柜),是为城乡电网改造和建设需要而生产的新型高压开关柜。在供电系统中亦作为开断负荷电流和短路电流以及关合短路电流之用,本环网柜配用压气式、SF6真空负荷开关,操作机构为弹簧扣去机构,该机构即可手动操作,也可电动操作。接地开关和隔离刀配用手动操作机构,本环网柜成套性强、体积小、无燃烧和爆炸危险,具有可靠的“五防”功能。
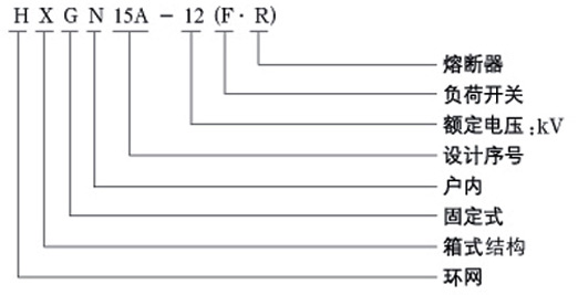
2. 型号及其含义

3. 适用范围
环网柜适用于额定电压 3.6~12V、50Hz 的配电系统中。广泛地用于城市电网建设和改造工程、工矿企业、高层建筑和公共设施等。作为环网供电单元和终端设备,起着电能的分配、控制和电气设备保护作用。也可装在箱式变电所中。本环网柜符合 IEC420《高压交流负荷开关—熔断器组合电器》、GB3906《3.6~40.5V 交流金属封闭开关设备和控制设备》的有关规定。
4. 使用条件
海拔高度:不超过 1000m;
周围环境温度:-25℃~+40℃;
相对湿度:日平均值不大于 95%;月平均值不大于 90%;
无导电尘埃、腐蚀性气体和水蒸气的场所;
无火灾和爆炸危险的场所;
无经常性剧烈震动的场所。
5. 主要技术参数
| 序号 | 项目 | 单位 | 数值 | |
|---|---|---|---|---|
| 1 | 额定电压 | kV | 12 | |
| 2 | 额定电流 | 负荷开关柜 | A | 630 |
| 组合电器柜 | A | 125 | ||
| 3 | 额定短路关合电流(峰值) | kA | 50 | |
| 4 | 额定短路开断电流 | kA | 31.5 | |
| 5 | 额定有功负载开断电流 | A | 630 | |
| 6 | 4s 热稳定电流 | kA | 20 | |
| 7 | 额定热稳定电流(峰值) | kA | 50 | |
| 8 | 1min 工频耐受电压 | kV | 42(断口)、48(隔板) | |
| 9 | 雷电冲击耐受电压 | kV | 75(断口)、85(隔板) | |
| 10 | 机械寿命 | 次 | 10000 | |
| 11 | 额定交接电流(组合电器) | A | 3150 | |
| 12 | 操作方式 | 手动/电动 | ||
| 13 | 防护等级 | IP2X | ||
6. 环网供电原理
环网供电一般由三个基本单元组成(见下图)进出线柜作为环网单元。当任一线路出现故障时,能及时隔离,并由另一单元保证用户变压器支路连续供电。用户回路环网柜对变压器起着保护和隔离作用,便于用户检修。
环网柜可任意延展,并可根据用户要求由基本单元构成多种组合方案。

7. 订货须知
订货时应提供:
一次线路方案、编号或一次系统图;
二次电气原理图及控制回路电压;
高压开关柜平面布置图;
如需非标一次、二次线路方案,可委托本公司设计、生产。